Since 2012 - Smart Weigh is committed to helping clients increase productivity at a reduced cost. Contact us Now!
There are product descriptions including specifications, application scenarios, and many other aspects listed on the product packages or instructions. Depending on the kind and depth of detail you are seeking, you may better turn to our Customer Service. We can assure you that weighing and packaging machine is endowed with excellent details with quality materials and sophisticated technology. Thanks to the improvement of the instruction info, you can browse through our website to learn more about the product characteristics.

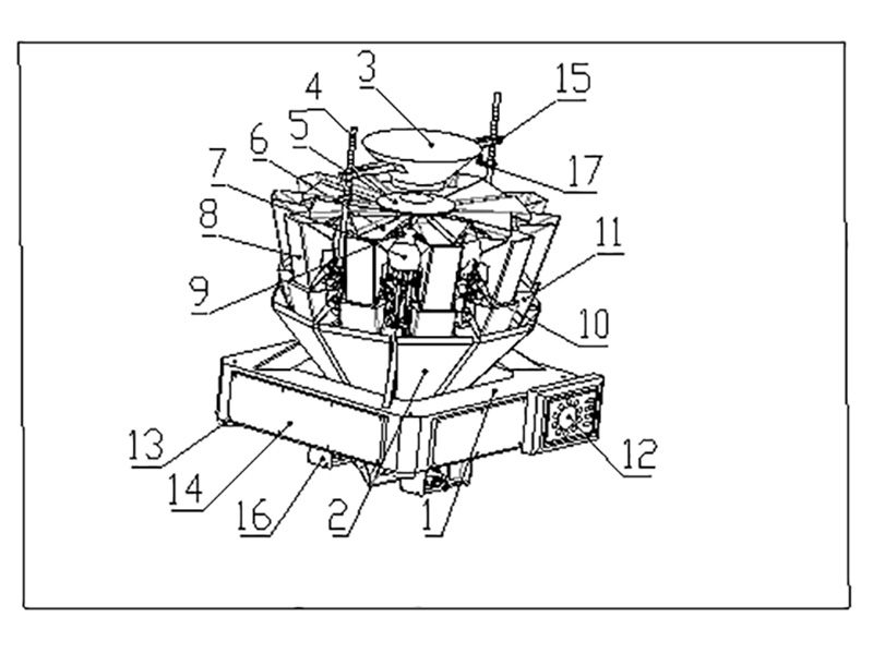
Guangdong Smart Weigh Packaging Machinery Co., Ltd remains devoted to the manufacture of powder packing machine over the years. The working platform series is widely praised by customers. The manufacturing process of Smartweigh Pack vffs packaging machine is complicated. For example, its semiconductors must undergo a rigorous cleaning process to remove dirt and dust. Smart Weigh packing machines are of high efficiency. multihead weigher packing machine has been considered to be multihead weigher with obvious quality and wide development prospects. Sealing temperature of Smart Weigh packing machine is adjustable for a diverse sealing film.

Guangdong Smartweigh Pack intends to make a renowned brand with high efficiency, higher quality and superb support. Call!
Smart Weigh is a global leader in high-precision weighing and integrated packaging systems, trusted by 1,000+ customers and 2,000+ packing lines worldwide. With local support in Indonesia, Europe, USA and UAE, we deliver turnkey packaging line solutions from feeding to palletizing.
E-mail: export@smartweighpack.com
Tel: +86 760 87961168
Fax: +86-760 8766 3556
Address: Building B, Kunxin Industrial Park, No. 55, Dong Fu Road , Dongfeng Town, Zhongshan City, Guangdong Province, China ,528425